logo: Regione FVG
logo: Regione FVG
vai ai contenuti
  • Home
  • Il catasto grotte
    • Presentazione
    • Note storiche
    • Elenco gruppi
    • Galleria fotografica
    • Galleria video
    • Virtual Tour ipogei
    • Sistema del Monte Canin
  • Aiuto
    • Domande e risposte (faq)
    • Precisione rilievo (grado UIS)
    • Come funziona
    • Registro modifiche sito web/App
  • Strumenti
    • Conversione coordinate
    • Download dati
    • App mobile
    • Agenda della grotta
    • Ricerca avanzata
    • Statistiche
    • Cartografia
  • Contatti
  • Accedi/Registrati
  • Italiano - IT
    • Italiano
    • English
    • Slovenščina

Catasto Speleologico Regionale

 

Aggiornamento scheda catastale




Centra la mappa




909 | Caverna 3 a SW del Monte Matajur


100m 500m 1000m
PDF KML GPX

Nomi e numeri catastali Scopritori Ingressi Morfometria Descrizione Rami/Pozzi Rilievi Planimetria Idrogeologia Meteorologia ipogea Ghiaccio/Neve Rifiuti Danneggiamenti Pericoli Geologia Biologia Aspetti culturali Vincoli Immagini Bibliografia Agenda Altri files Archivio storico

Nome principale: Caverna 3 a SW del Monte Matajur

Numero catasto: 909

Numero catasto locale: 384FR

Numero totale ingressi: 1

Data primo accatastamento: 01/01/1969


Non sono presenti informazioni

  • Ingresso 1

Descrizione ingresso

Numero ingresso: 1

Nome ingresso: Ingresso 1

Ingresso principale: Si

Stato ingresso: Agibile

Dimensione stimata ingresso: 3,2 x 1,4 m

Tipo ingresso: Orizzontale

Morfologia ingresso: Caverna

Limitazioni: Nessuna

Accessibilità: Libera

Data di accatastamento: 26/07/2011


Targhettatura

Presenza targhetta: Si

Sigla targhetta: 909

Data targhettatura: 01/01/2011

Gruppo targhettatura: VALLI - Gruppo Speleologico Valli del Natisone

Campagna targhettatura: 2011


Località

Comune: Pulfero

Area geografica: Prealpi Giulie

Area provinciale: Udine

Tipo carta: 1:5.000

Carta CTRN 1:5.000: 067034 - Stermizza


Rilevamento posizione

Metodo rilevamento: STRUMENTALE -> GPS

Tipo posizione: Aggiornamento Posizione

Tipo coordinate rilevate: Metriche RDN2008/UTM 33N

Latitudine: 5117180

Longitudine: 384845

Lat. WGS84: 46,198453018054

Lon. WGS84: 13,507478475036

Est RDN2008/UTM 33N: 384845

Nord RDN2008/UTM 33N: 5117180

Storico posizioni

Storico posizioni







Note rilevamento posizione: Quota rilevata con GPS: 849

Data esecuzione posizione: 13/06/2011

Quota ingresso (s.l.m.): 822 m

Metodo rilevamento quota: Cartografico

Carta utilizzata: 1:5.000

Affidabilità posizione: Corretto


Autori della posizione

Autore: Alceo Balutto

Gruppo appartenenza: VALLI - Gruppo Speleologico Valli del Natisone

Caratteristiche

Sviluppo planimetrico: 25 m

Dislivello positivo: 18 m

Dislivello totale: 18 m

Quota fondo: 822 m

Andamento cavità: Tratti verticali e orizzontali alternati


Stato della cavità

Prosecuzioni: Presenza di prosecuzioni non accessibili

Grotta turistica: No

Meteorologia ipogea

Non sono presenti informazioni

Danneggiamenti


Non sono presenti informazioni

Geologia

fonte: Carta geologica del Friuli Venezia Giulia alla scala 1:150.000

Litologia: Areniti e siltiti (Flysch)

Ambiente: Depositi di bacino

Età: Cretaceo sup. - Paleocene p.p.

Formazione:

Non sono presenti informazioni

Vincoli

Breve descrizione del percorso d'accesso

La cavità si apre a 35m, in direzione NNW, dalla Caverna II a SW del Monte Mataiur (908/383FR)

Descrizione dei vani interni della cavità

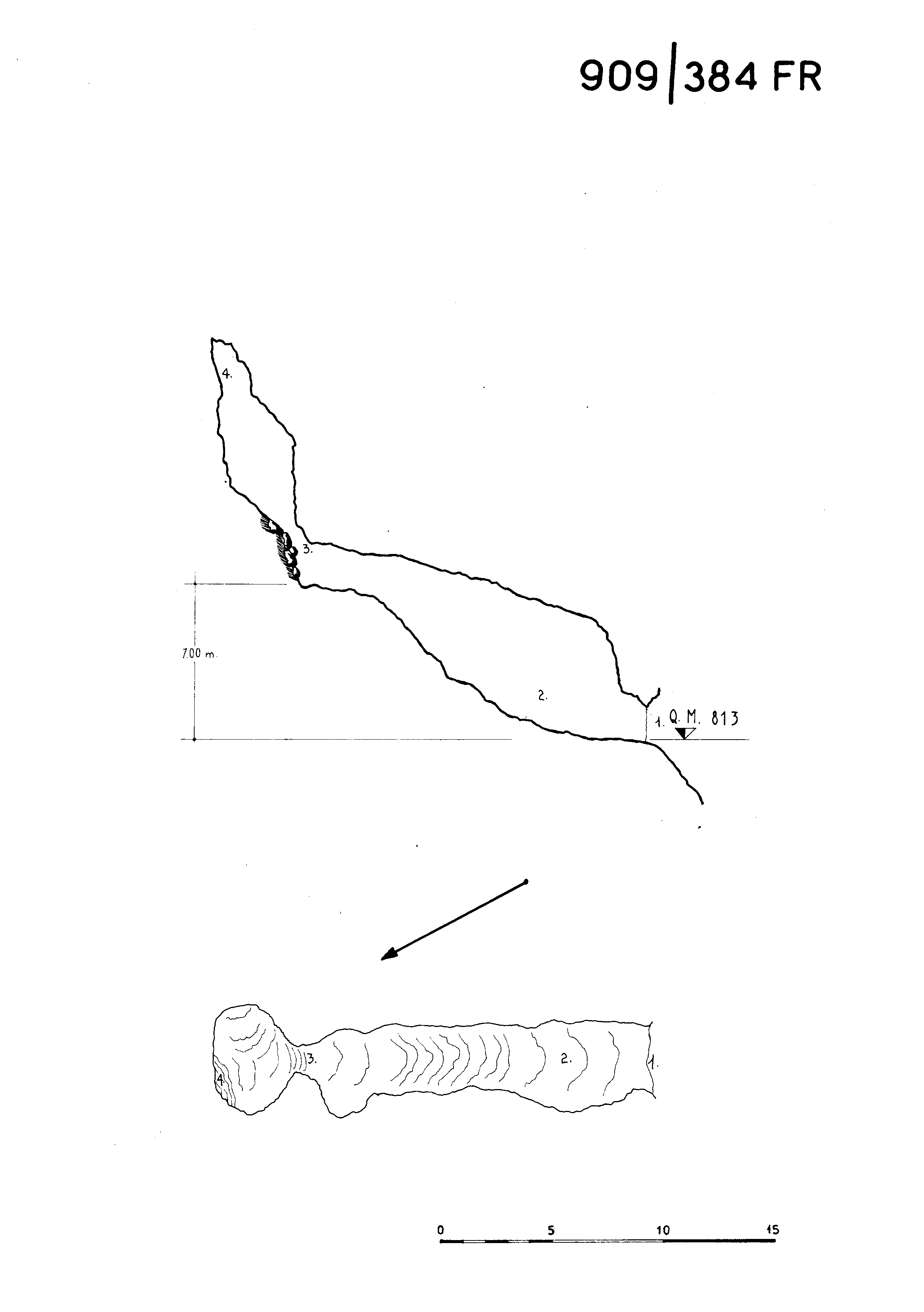
Subito dopo l'ingresso, il quale misura 3,20m x 1,40m, la volta, riccamente concrezionata, si innalza dando luogo ad un ambiente più vasto, in graduale salita, al termine del quale si apre un ampio camino, anch'esso concrezionato, parzialmente risalito.

  • 14/07/1957
  • Poligonale/3D

Data rilievo: 14/07/1957

Tipo rilievo: Primo rilievo


Autori del rilievo

Autore: Renato Bratos

Gruppo appartenenza: GGCD - Gruppo Grotte Carlo Debeljak


File rilievi presenti

Tipo file rilievo: Pianta e sezione

File del rilievo Scarica rilievo

Scarica rilievo originale

Planimetria georiferita

La georeferenziazione della planimetria della cavità è comunque da intendersi indicativa, per l'accuratezza far riferimento alla scheda rilievi

Nome immagine

Data dello scatto: 13/06/2011

Didascalia: Ingresso con numero identificativo

Autore foto: Alceo Balutto

Gruppo di appartenenza: VALLI - Gruppo Speleologico Valli del Natisone

Nome immagine

Data dello scatto: 13/06/2011

Didascalia: Targhetta o numero identificativo

Autore foto: Alceo Balutto

Gruppo di appartenenza: VALLI - Gruppo Speleologico Valli del Natisone

Bibliografia

GROTTE DEL FRIULI
Pino Guidi
Società Speleologica italiana (1970)
Biblioteca del CSR
Collocazione: RASSEGNA SPELEOLOGICA ITALIANA - fasc. 1-4 - 1970

Link: https://www.boegan.it/wp-content/uploads/2020/05/GUIDI-Pino-1970-Grotte-del-Friuli.pdf

Categorie: Geospeleologia e carsismo

Indici: Aree carsiche, Geomorfologia e speleogenesi, Idrologia


Descrizione della cavità

Agenda

Non sono presenti informazioni

Altri files

Archivio storico


Scegli il tipo di stampa



Regione Autonoma Friuli Venezia Giulia
Direzione centrale difesa dell'ambiente, energia e sviluppo sostenibile - Servizio geologico
c.f. 80014930327; p.iva 00526040324 | Via Sant'Anastasio 3 - 34132 Trieste
MAIL: csr@regione.fvg.it | PEC: ambiente@certregione.fvg.it
amministrazione trasparente | privacy | utilizzo dei dati | cookie | note legali | accessibilità | cambio preferenze cookie

App iOSApp Android

Realizzazione web e App iOS/Android by Divulgando Srl - Trieste
Illustrazione

Accedi

Entra con le tue credenziali

Non sei registrato? Registrati ora
Non ricordi la password? Clicca quì